- Home
- Couplings
- Gear Couplings TNZ ZCA / ZCB
Key Characteristics of the Gear Couplings TNZ ZCA / ZCB
Gear Couplings TNZ ZCA / TNZ ZCB with standard hubs have distinct features that cater to various installation needs. It also known as 'khớp nối răng vỏ thép TNZ ZCA / ZCB".
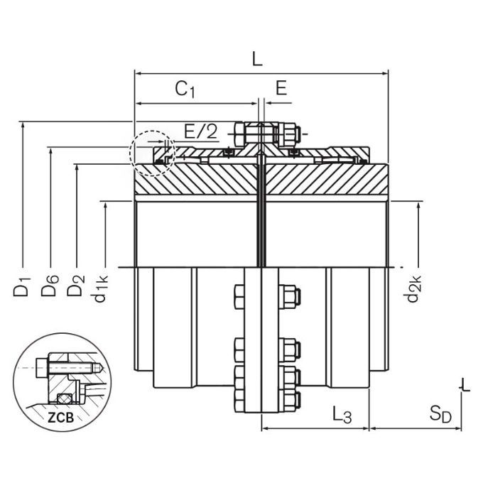
The Ringfeder TNZ ZCA coupling is a torsionally stiff gear coupling designed with some backlash and consists of two coupling halves connected by fitted bolts. Unlike the TNZ ZCA coupling, the Ringfeder TNZ ZCB is equipped with a bolt-on O-ring carrier which simplifies installation by altering the mounting sequence.
- To mount the TNZ ZCB coupling, unscrew the cover and place it on the shaft, mount the hub onto the shaft, slide the sleeve onto the hub, and fasten the O-ring carrier to the sleeve. This method of mounting is particularly advantageous for large couplings.
- The coupling can be used in temperatures up to +120 °C when special seals are employed.
- It comes in both split sleeve options (ZCA / ZCB) with the ZCA model range also available in the ZCB design, and single-piece sleeve options (ZCH).
- The elastic O-ring can be replaced without needing to move the connected machines.
- It supports bores up to 270 mm and can handle torques up to TKn = 195,000 Nm and TKmax = 390,000 Nm.
- Additionally, it can operate at speeds of up to nmax = 6,000 rpm.
Product Specifications of Gear Couplings TNZ ZCA / ZCB
TNZ ZCA / ZCB Catalogue | TNZ ZCA / ZCB Installation Instruction |
![]() | ![]() |
Identifier | Size Coupling | Torque [Nm] | nmax | Dimensions [mm] | Gw | |||||
ZCA | ZCB | TKN | TKmax | 1/min | d1k min-max | D1 | D2 | L | [kg] | |
XC2106 | ---- | 69 | 1750 | 3500 | 6000 | 12 - 50 | 111 | 69 | 89 | 4,1 |
XC2108 | ---- | 85 | 2750 | 5500 | 4600 | 18 - 60 | 152 | 85 | 103 | 8,7 |
XC2110 | XC3110 | 107 | 5500 | 11000 | 4200 | 28 - 75 | 178 | 107 | 127 | 14,4 |
XC2113 | XC3113 | 133 | 8500 | 17000 | 4000 | 40 - 95 | 213 | 133 | 157 | 25,6 |
XC2115 | XC3115 | 152 | 13500 | 27000 | 3850 | 50 - 110 | 240 | 152 | 185 | 37,3 |
XC2117 | XC3117 | 179 | 22000 | 44000 | 3700 | 60 - 130 | 280 | 178 | 216 | 58,9 |
XC2120 | XC3120 | 209 | 35000 | 70000 | 3200 | 70 - 155 | 318 | 209 | 246 | 88,6 |
XC2123 | XC3123 | 234 | 43000 | 86000 | 2900 | 85 - 170 | 346 | 234 | 278 | 116,1 |
XC2125 | XC3125 | 254 | 68000 | 136000 | 2600 | 95 - 190 | 389 | 254 | 308 | 166 |
XC2127 | XC3125 | 279 | 82000 | 164000 | 2300 | 110 - 210 | 425 | 279 | 358 | 219,2 |
XC2130 | XC3130 | 305 | 150000 | 300000 | 2100 | 120 - 230 | 457 | 305 | 388 | 265,9 |
XC2135 | XC3135 | 355 | 195000 | 390000 | 1800 | 130 - 270 | 527 | 355 | 450 | 415,8 |
Why Choose Ringfeder Gear Couplings TNZ ZCA / ZCB?
The TNZ ZCA / ZCB is a torsionally rigid gear coupling crafted from high-quality steel, ensuring superior durability and reliability. Its exceptionally compact design results in high-power density, making it highly efficient for demanding industrial applications. Additionally, it compensates for angular, radial, and axial shaft offset, providing excellent flexibility and alignment capabilities.
Widely utilized in heavy industries around the globe, Ringfeder gear couplings TNZ ZCA / ZCB are essential for transmitting extremely high torques between shafts. They excel in demanding applications such as direct drive systems for conveyors, mixers, mills, and roller tables.
As the exclusive representative of Ringfeder Germany in Vietnam
At Dai Hong Phat Corp we are dedicated to offering premium Ringfeder products and services, emphasizing our commitment to the Vietnamese market.
Our esteemed authorization ensures that customers benefit from authentic Ringfeder products, along with expert technical support to achieve the best performance and application results.
---------------------------------------------------------------------------------------
Contact Dai Hong Phat Corp today to learn more!!
🌐 Website: https://ringfeder.com.vn/ - https://daihongphat.asia/
📞 Hotline: 0906 955 057 | Zalo: +84906 955 057
📧 Email: info@dhp-corp.com.vn
Facebook Ringfeder Vietnam: https://www.facebook.com/ringfedervietnam/
Facebook Dai Hong Phat Corp: https://www.facebook.com/khopnoitrucdaihongphat
Featured Products
Related Products

